Turbine supervisory system

A turbo generator is a rotating machine powered by the kinetic energy of steam (thermo power plants), water (hydropower plants) or air (wind power plants) coupled mechanically to a generator with the objective of transforming movement into electrical energy.

Mechanically it is a complex device exposed to huge torsion force, angular speed and a constant operational regime under minimal axis displacement tolerance and dynamic balance.

A turbo generator condition monitoring also called supervisory control is a protection system that verifies any axis displacement deviations and vibration behavior in every coupling phase.

Measurements are processed to generate alarms in each case, as well as the ability to analyze frequency component spectrum and determine bearing wear, gear wear or displacement.

Hydropower

Wind power

Thermal power

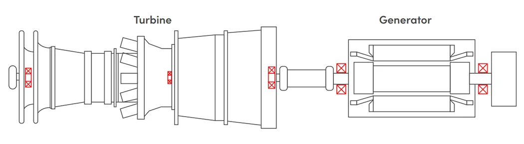
Displacement and vibration monitoring points

Condition supervisory system is made by the following elements

  • Displacement sensors
  • Displacement sensors
  • Accelerometers
  • Frequency transducers
  • Signal entrance module
  • Supervisory system

Condition supervisory system is the most effective solution for turbo generators reliability management, since it allows configuration of alarms, view machine history tendencies, have at your disposal a more detailed view of possible malfunctions and able to diagnose operational condition.

Condition supervisory system can be linked to the plant process control system (DCS o SCADA), business management and maintenance systems, emergency shutdown system and KPI generation.



BK Vibro system for condition monitoring

Vibrostore 100

VCM-3 condition monitoring unit

Compass 6000 CMS

Vibroport 8000

DDAU3 wind turbine condition monitoring

VibroSuite - Standarlone wind turbine monitoring

VIBROCONTROL 6000® Compact monitor

SETPOINT® CMS Software powered by OSIsoft® PI System

Accessories & spare parts

Vibration sensors & transmitters











ECN Automation
offers comprehensive solutions.


Contact us